0 概述
富凱大廈總建筑面積達12萬平方米,地下三層,地上二十二層,是專門為北京西部地區的商務人員設計的高大"陽光景觀"型甲級智能化寫字樓。大廈在外觀上體現出"現代、莊重、簡潔、規整"的氣勢;在中部采用"中庭"設計,使之南、北樓都能獲行較好的通風、采光,并以此在中庭部分營照出具有西方風情的綠色空中花園景觀。大廈的平面建筑標準層按景觀辦公設計、靈活分割,可自由組合辦公區域;以上設計體現出設計者以人為本的設計理念,使其成為辦公條件、視線、景觀具佳的高品質大廈。
為解決為了使北京富凱大廈商戶提高電費收繳率,規避惡意欠費造成物業公司的經濟損失,方案為項目設計一套Acrel-3200遠程預付費系統,結合安科瑞品牌三相預付費電能表DTSY1352-NK;單相導軌式安裝電能表DDSY1352-NKYM,實現先交費后用電,完美解決以上問題。
系統采用網絡分布式結構,預付費電表安裝在配電柜內通過485總線與區域通訊采集器連接,通訊采集器通過以太網與數據服務器連接。
1 參考標準
ISO/IEC11801 《國際綜合布線標準》
GB/50198 《監控系統工程技術規范》
GB50052-2009 《供配電系統設計規范》
GB50054-2011 《低壓配電設計規范》
IEC 61587 《電子設備機械結構系列》
DL/T448-2000 《電能計量裝置技術管理規程》
DL/T 698.1-2009 《第1部分:總則》
DL/T 698.2-2010 《第2部分:主站技術規范》
DL/T 698.31-2010 《第3.1部分:電能信息采集終端技術規范-通用要求》
DL/T/814-2002 《配電自動化系統功能規范》
DL/T5137-2001 《電測量及電能計量裝置設計技術規程》
GB2887 《計算站場地技術條件》
GB/T18460.3 《IC卡預付費售電系統 第3部分:預付費電度表》
2 系統方案
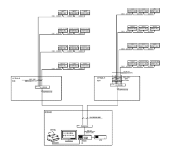
安科瑞Acrel-3200遠程預付費電能管理系統根據北京富凱大廈實際情況進行組網設計,對商場商戶加裝遠程預付費電度表,采用就地組網,在強電間設置采集器,遠程預付費電度表通過手拉手方式接入采集器。整體網絡結構如下圖所示:站控管理層、網絡通訊層和現場設備層。
現場設備層主要為:遠程預付費電度表。這些裝置分別對應相應的一次設備安裝在電氣柜內,這些裝置均采用RS485通訊接口,通過現場MODBUS總線組網通訊,實現數據現場采集。
網絡通訊層主要為:通訊服務器,其主要功能為把分散在現場采集裝置集中采集,同時傳至站控層,完成現場層和站控層之間的數據交互。
站控管理層:設有高性能工業服務器、顯示器、UPS電源、打印機等設備。監控系統安裝在服務器上,集中采集顯示現場設備運行狀況,以人機交互的形式顯示給用戶。
智能儀表現場連接示意
現場智能裝置(遠程預付費電度表)以手拉手方式通過屏蔽雙絞線(RVVSP2*1.0)進行通訊連接,每根總線連接智能儀表數量在32只以內,不同種類的智能裝置連接在不同的總線上,然后將數據上傳至采集器,進而將數據上傳至監控主機。
3 系統功能
整個系統軟件設計分為三個大塊,分別是集中抄表服務系統,遠程預付費電能管理系統,以及用戶查詢系統。
集中抄表服務程序常年運行,不間斷定時對所有表進行遠程抄表;遠程預付費系統包含所有開戶、售電、遙控及報表功能;用戶查詢機系統用于商鋪查詢個人信息、充值和用電情況;另外還可配置手機端查詢網站,可用于商鋪用戶在手機網站終端上實時查詢個人信息、充值、遠程控制及每日用電情況,如果條件滿足,還支持用戶使用支付寶銀聯等方式遠程自助購電。
主要特點如下:
u 快速配置,即裝即用:將電表和通訊管理機配置導入系統就可以使用;
u 遠程集中抄表:免去人工抄表,電表狀態實時性可到3分鐘以內;
u 支持單獨計價、多費率、階梯電價:可對每塊電表單獨設置電價、費率和階梯電價;
u 遠程售電:財務集中管理,電量實時下發,并比對充值次數防止作弊;
u 數據安全:網絡數據傳輸采用金融級的3DES加密算法,防止數據作弊竊電;
u 手機短信提醒:當金額不足或金額欠費,共三級預警,都可及時短信通知商戶;
u 遠程控制:可對任意一塊電表執行遠程拉閘或保電等一系列遠程控制操作,方便管理;
u 能耗分析及查詢:用戶和管理員都可查詢預付費表或各類接入的計量儀表每天的用能狀況;
u 個人手機查詢網站:支持手機端用戶自主購電,自主查詢。
傳統的IC卡預付費售電管理系統實現了先交費后用電的管理模式,但由于抄收電表數據依賴于購電卡,用戶用電數據滯后于發生時間,不僅需要人工抄表,也無法有效進行用電管理、監控和實時控制。
利用遠程預付費電能管理系統,無需IC卡,可以實現計算機遠程集中抄表、實時監控、遠程充值和遠程控制,再通過預警信息和短信通知,以及手機網站,物管部門即可完成整個抄表、收費、控制和核查工作,實現高度信息化和自動化,大大提高用電營銷管理效率和水平,節約人力物力的同時,也提高了經濟效益,同時還具有防信息泄露防竊電的安全功能。
①集中抄表服務系統
集中抄表服務程序包含三大模塊,除了常年運行的定時對所有儀表進行集中遠程抄表以外,還集成了報警短信發送服務,能將電費金額預警和欠費預警自動生成手機短信自發送給對應的商鋪用戶,該功能需要與硬件短信貓配合使用。
系統默認半小時對所有表進行一次遠程集中抄表,時間間隔支持個性化配置。
②遠程預付費電能管理系統
本系統分為五大模塊,分別是操作員登陸模塊、系統配置模塊、用戶(商鋪)管理模塊、售電管理模塊、報表中心模塊,系統大致運行和操作流程如下:

本系統所有的報表及記錄查詢,都支持excel格式導出的功能。
1.登陸管理:管理操作員賬戶及權限分配,查看系統日志等功能;
2.系統設置:對建筑、通訊管理機、儀表及默認參數進行配置;
3.用戶管理:對商鋪用戶執行開戶、銷戶、遠程分合閘、抄表導出及記錄查詢等操作;
4.售電管理:對已開戶的表進行遠程售電、退電、沖正及記錄查詢等操作;
系統針對商鋪開戶不僅支持一戶一表,也支持一戶掛多表的需要;同時支持和解決了項目改造后新老表切換時,老表金額轉入的問題;支持峰谷電價,支持一表一電價;可對單表設置功率過載的閾值,也支持設置單表金額報警的兩級閾值。
批量遠程操作場景中,系統提供了多項功能,針對開戶、報警1、報警2、欠費、未開戶、失聯狀態都有不同的顏色顯示;并且支持遠程對儀表進行遙控,遙控的命令類型如下:
1.電價下發;2.設置下發(下發報警金額閾值和過載功率閾值);3.保電(強制儀表合閘);4.恢復預付費(欠費自動跳閘的模式);5.拉閘(強制斷電);6.抄表導出(導出當前所有表狀態為EXCEL)
系統還提供了多個報表以供查詢,分別是日/月/年財務銷售統計報表、失聯表/通訊管理機查詢報表、能耗查詢報表、實時報警/歷史報警查詢報表,支持導出。以下是財務報表和預付費表日用能查詢報表:
4 結束語
隨著社會生產的進步,在商業用戶用電量不斷增長、對供電質量要求不斷提高的同時,也存在大量拖欠電費的情況,極大的加重了供電企業的經營風險。為了使供電企業提高電費收繳率,規避惡意欠費造成的經濟損失,我司特提供成套的預付費解決方案,系統不但可以預收電費,實現“先交錢、后用電”,又可針對用戶用電性質不同可在電力供應緊張或響應政府關于“節能減排”等號召時有選擇性的進行限電,F場通過遠程預付費的系統,實現了先交費后用電,可以避免物業公司的電費墊資問題,從而緩解了商業提剛剛運營的資金壓力,另外將業主和配電區域隔離,防止了私接偷電的問題。
作者簡介:
戴金花,女,本科,江蘇安科瑞電器制造有限公司,主要研究方向為智能建筑供配電監控系統。Email:daijinhua@email.acrel.cn QQ :2881068604 手機:18860995103 電話:0510-86179967 傳真:0510-86179975 網址:http://www.jsacrel.cn/