首頁 | 收藏本站 | 免費注冊|申請VIP會員|固定排名|廣告服務
中國電氣自動化網首頁
PLC | 電  機 | 變 頻 器 | 人機界面 | 運動伺服 | 控制傳動 | 自動化軟件
DCS | 傳感器 | 通信網絡 | 現場總線 | 數據采集 | 電氣開關 | 數傳測控
電源 | 嵌入式 | 儀器儀表 | 低壓電器 | 機器視覺 | 工業安全 | 工控機
模具 | 電線電纜 | 電子元件 | 成套設備 | 液壓氣動 | 制 冷
機床 | 電力能源 | 機械設備 | 石油化工 | 礦業冶金 | 水工業
物流 | 軌道交通 | 汽車電子 | 工程機械 | 輸 配 電 | 電 梯
產品 企業 供求 新聞
下載 視頻 招聘 期刊 會展 培訓 庫存 論壇 訪談 維修  
熱詞:嵌入式 傳感器 電源 主板 工控機 PLC 人機界面 變頻器

您現在的位置:中國電氣自動化網首頁 >> 文庫首頁>>詳細信息

國產PLC-Haiwell(海為)PLC在高校教學實踐中的應用 
(發布日期:2018-3-27 13:35:19) 來源:
 
   

前提:2015年9月29日,收到廈門海為公司寄來的PLC 型號是S16S0R,24V直流供電的PLC基本單元模塊一個,一條編程線纜和海為PLC的許多資料,在資料中查到廈門海為科技有限公司的官方網站,下載了編程軟件和使用手冊。經過一段時間的研讀手冊和練習,發現海為PLC的特點:首先是編程軟件好,最突出的亮點是易安裝,自帶仿真。不會發生初學者編程軟件安裝不成功,或安裝后無法編程,編程后無法仿真。教師在教學中,教學生安裝編程軟件是很繁重的一項內容,萬事開頭難,引導學生入門是一項很重要的工作。在比較流行的歐系日系PLC編程軟件的安裝和仿真軟件的安裝實訓中費時費力,海為編程安裝非常順利,仿真也很容易使用。其次,硬件與其他PLC一樣好用,且至少有一路脈沖輸出。

本人在經過了2014級電氣班,2015級機電班的PLC教學中,國產PLC的教學實踐應用海為是成功的。現寫出教學實例如下:十字路口紅綠燈信號編程


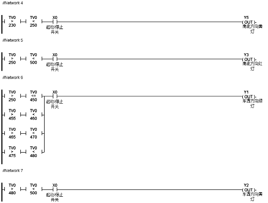
編程要求:開關閉合后,東西方向紅燈點亮25秒后,南北方向綠燈點亮20秒,閃爍3秒(三次)熄滅,黃燈點亮2秒。南北紅燈點亮25秒東西綠燈點亮20秒,閃爍3秒(三次)熄滅,黃燈點亮2秒。一直循環。


  • 國產PLC-Haiwell(海為)PLC在高校教學實踐中的應用1.png


圖1:元件使用表



  • 國產PLC-Haiwell(海為)PLC在高校教學實踐中的應用2.png


圖2:元件注釋表




  • 國產PLC-Haiwell(海為)PLC在高校教學實踐中的應用3.png


圖3:部分程序圖1




  • 國產PLC-Haiwell(海為)PLC在高校教學實踐中的應用4.png


圖3:部分程序圖2


海為產品很好,教學應用很好,但知名度還要通過不斷的推廣會越來越大,相信教學中取代進口產品的日子會越來越近。


 
廈門海為科技有限公司
所在區域: 福建.廈門 郵編: 361101
公司地址: 廈門市翔安區翔安北路3699號火炬高新大廈7樓 聯系人:市場部 女士 (經理)
辦公電話: 0592-2230312 傳真: 0592-2230312
移動電話: 電郵: 登錄查看或通過本網留言
公司主頁: http://www.haiwell.com/
通過中國電氣自動化網在線聯系該用戶:
關于:
需求意向:
* 驗證碼: 點擊可刷新
 
用戶: 密碼:  
如果您還不是中國電氣自動化網(cqhnbgb.com)的注冊用戶,立刻免費注冊

   企業新聞 更多
· 皮爾磁:亮點搶先看!皮爾磁登陸2...
· 皮爾磁:IO-Link Safe...
· 皮爾磁即將亮相2026漢諾威工博...
· 皮爾磁:輕松實現廢水回收系統的全...
· 皮爾磁信息安全咨詢現采用標準CS...
· 皮爾磁:輕松實現光柵屏蔽功能的小...
· 皮爾磁入選《德國家族企業的秘密》...
· 皮爾磁:安全雷達讓手動重啟成為歷...
  產品新聞 更多
· 皮爾磁:高可用性安全傳感器,讓設...
· 皮爾磁參展interpack 2...
· 皮爾磁:重型貨架上層物料存取防撞...
· 皮爾磁:安全PLC的升級:不換代...
· 皮爾磁:安全毫米波技術:重新定義...
· 皮爾磁:ISO14119防止安全...
· 皮爾磁:從標準到實踐的計算橋梁...
· 皮爾磁:理解安全認證與標準:全球...

廣告服務 | 關于我們 | 網站地圖 | 分類索引 | 服務條款 | VIP會員服務 |《電氣自動化企業大全》| 版權聲明

客服專線:0898-68552405     媒體合作QQ:910167442
中國電子商務服務聯盟成員單位 瓊ICP備17003754號
中國電氣自動化網 版權所有 © Copyright By Electric Automation of China